专利数据库
统计分析
产业报告
专利数据监控
产业人才
行业动态
产业政策法规
维权援助
个人中心
详情
文本
图像
标题
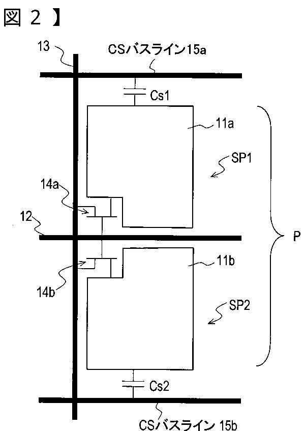
液晶表示装置
授权日
2012-11-09
公开(公告)号
JP5129314B2
申请日
2010-11-04
公开(公告)日
2013-01-30
当前申请(专利权)人
シャープ株式会社
发明人
入江 健太郎 | 下敷領 文一
简单同族
CN101053009A | CN101053009B | EP1818903A1 | EP1818903A4 | JP2011065176A | JP4642031B2 | JP5129314B2 | JPWO2006049245A1 | KR100869200B1 | KR1020070051264A | US20080158203A1 | US8310424 | WO2006049245A1
简单同族成员数量
13
简单同族被引用专利总数
72
诉讼案件数
0
法律状态/事件
授权
抱歉,您的浏览器不支持PDF预览,请点击链接下载PDF文件