专利数据库
统计分析
产业报告
专利数据监控
产业人才
行业动态
产业政策法规
维权援助
个人中心
详情
文本
图像
标题
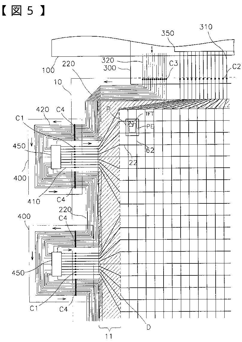
液晶表示装置の製造方法
授权日
2013-07-26
公开(公告)号
JP5325938B2
申请日
2011-06-22
公开(公告)日
2013-10-23
当前申请(专利权)人
三星ディスプレイ株式會社
发明人
金 東 奎
简单同族
JP2002214638A | JP2008186025A | JP2011242785A | JP5325938B2 | KR100695303B1 | KR1020020034283A | TW521224B | US20020051110A1 | US20050157221A1 | US20060250538A1 | US6888585 | US7081939 | US7583328
简单同族成员数量
13
简单同族被引用专利总数
87
诉讼案件数
0
法律状态/事件
授权 | 权利转移
抱歉,您的浏览器不支持PDF预览,请点击链接下载PDF文件