专利数据库
统计分析
产业报告
专利数据监控
产业人才
行业动态
产业政策法规
维权援助
个人中心
详情
文本
图像
标题
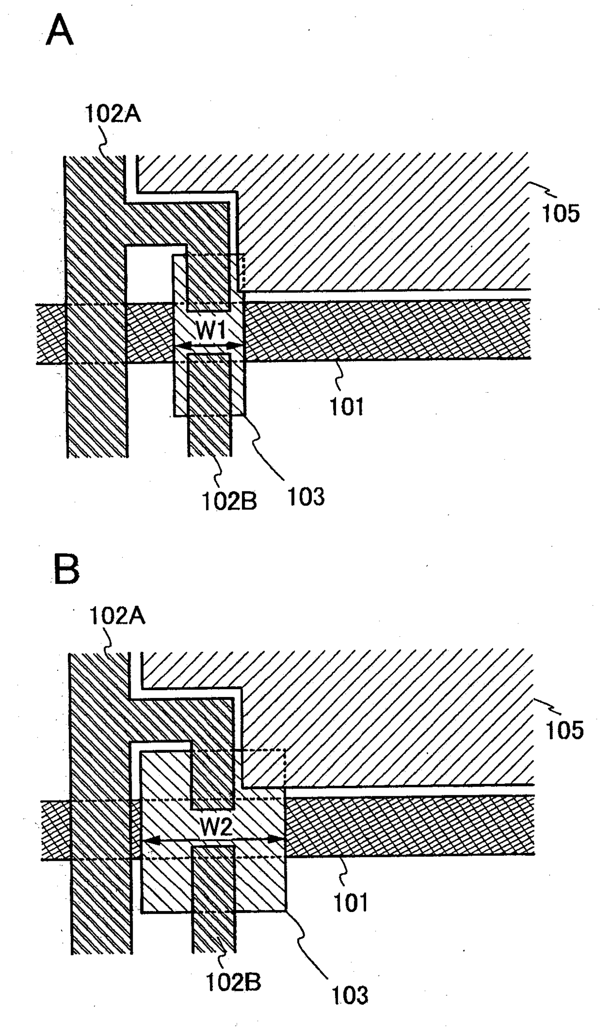
液晶显示装置及包括该液晶显示装置的电子设备
授权日
1900-01-01
公开(公告)号
CN103984176A
申请日
2010-09-21
公开(公告)日
2014-08-13
当前申请(专利权)人
株式会社半导体能源研究所
发明人
荒泽亮 | 宍户英明
简单同族
CN102576174A | CN102576174B | CN103984176A | CN103984176B | JP2011100117A | JP2011100117A5 | JP2012252349A | JP2013109375A | JP2014170239A | JP2015165329A | JP2015165329A5 | JP2016066101A | JP2017194691A | JP2018197878A | JP2020074012A | JP5225493B2 | JP5542258B2 | JP6393801B2 | JP6642951B2 | KR101424950B1 | KR1020120083341A | KR1020140066802A | TW201207531A | TW201435432A | TWI464486B | TWI655486B | US20110085104A1 | US8482690 | WO2011043217A1
简单同族成员数量
29
简单同族被引用专利总数
54
诉讼案件数
0
法律状态/事件
授权
抱歉,您的浏览器不支持PDF预览,请点击链接下载PDF文件