专利数据库
统计分析
产业报告
专利数据监控
产业人才
行业动态
产业政策法规
维权援助
个人中心
详情
文本
图像
标题
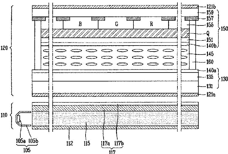
光変換層を含む液晶表示パネル及び液晶表示装置
授权日
1900-01-01
公开(公告)号
JP2013015812A
申请日
2011-12-26
公开(公告)日
2013-01-24
当前申请(专利权)人
エルジー ディスプレイ カンパニー リミテッド
发明人
辛 宗 碩 | 陳 賢 碩 | 李 美 京 | 朴 ▲キョン▼ 豪
简单同族
CN102866535A | CN102866535B | JP2013015812A | KR101794653B1 | KR1020130005175A | US20130010229A1 | US9170453
简单同族成员数量
7
简单同族被引用专利总数
116
诉讼案件数
0
法律状态/事件
驳回
抱歉,您的浏览器不支持PDF预览,请点击链接下载PDF文件