专利数据库
统计分析
产业报告
专利数据监控
产业人才
行业动态
产业政策法规
维权援助
个人中心
详情
文本
图像
标题
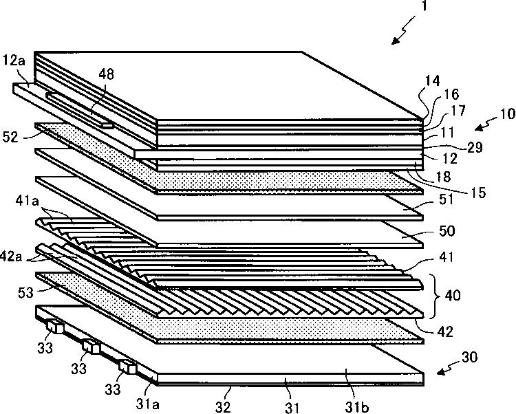
液晶表示装置
授权日
2013-02-15
公开(公告)号
JP5195719B2
申请日
2009-11-09
公开(公告)日
2013-05-15
当前申请(专利权)人
カシオ計算機株式会社
发明人
荒井 則博 | 小林 君平
简单同族
CN102053421A | CN102053421B | HK1156703A | JP2011100051A | JP5195719B2 | KR101167440B1 | KR1020110051147A | TW201142422A | TWI444715B | US20110273643A1
简单同族成员数量
10
简单同族被引用专利总数
58
诉讼案件数
0
法律状态/事件
授权 | 权利转移
抱歉,您的浏览器不支持PDF预览,请点击链接下载PDF文件