专利数据库
统计分析
产业报告
专利数据监控
产业人才
行业动态
产业政策法规
维权援助
个人中心
详情
文本
图像
标题
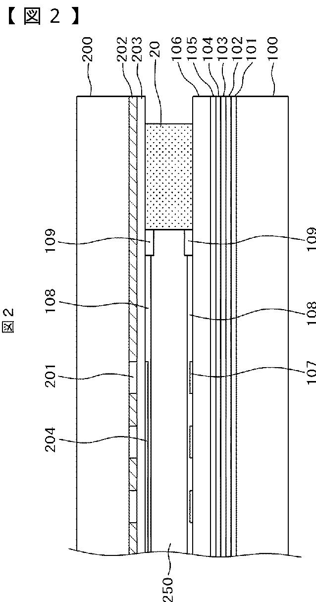
液晶表示装置及びその製造方法
授权日
2014-04-11
公开(公告)号
JP5520614B2
申请日
2010-01-15
公开(公告)日
2014-06-11
当前申请(专利权)人
株式会社ジャパンディスプレイ | パナソニック液晶ディスプレイ株式会社
发明人
城本 智行 | 岩田 敏郎 | 楊 磊 | 外 慎一
简单同族
CN102129140A | CN102129140B | JP2011145535A | JP5520614B2 | KR101228782B1 | KR1020110084107A | TW201137435A | TWI431358B | US10303003 | US20110176097A1 | US20130330858A1 | US20160116771A1 | US20170123242A1 | US20180164617A1 | US8514356 | US9257458 | US9575365 | US9927657
简单同族成员数量
18
简单同族被引用专利总数
71
诉讼案件数
0
法律状态/事件
授权 | 权利转移
抱歉,您的浏览器不支持PDF预览,请点击链接下载PDF文件