专利数据库
统计分析
产业报告
专利数据监控
产业人才
行业动态
产业政策法规
维权援助
个人中心
详情
文本
图像
标题
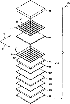
电容式触控板与液晶显示面板的整合结构
授权日
1900-01-01
公开(公告)号
CN101833184A
申请日
2009-03-13
公开(公告)日
2010-09-15
当前申请(专利权)人
宸鸿光电科技股份有限公司
发明人
简顺达 | 张恒耀
简单同族
CN101833184A | DE202009006774U1 | EP2406684A1 | EP2406684A4 | JP2012520495A | JP3152062U | KR1020120000565A | WO2010102491A1
简单同族成员数量
8
简单同族被引用专利总数
52
诉讼案件数
0
法律状态/事件
驳回
抱歉,您的浏览器不支持PDF预览,请点击链接下载PDF文件