专利数据库
统计分析
产业报告
专利数据监控
产业人才
行业动态
产业政策法规
维权援助
个人中心
详情
文本
图像
标题
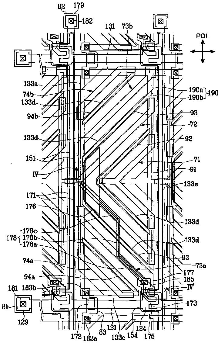
液晶表示装置
授权日
1900-01-01
公开(公告)号
JP2012093792A
申请日
2012-02-13
公开(公告)日
2012-05-17
当前申请(专利权)人
三星ディスプレイ株式會社
发明人
白 承 洙
简单同族
CN100533212C | CN1752804A | JP2006091890A | JP2012093792A | JP4953416B2 | JP5313373B2 | KR101189266B1 | KR1020060028521A | TW200615627A | TWI383196B | US20060066797A1 | US20080094560A1 | US20110187979A1 | US7324170 | US7936431 | US8305540
简单同族成员数量
16
简单同族被引用专利总数
70
诉讼案件数
0
法律状态/事件
授权 | 权利转移
抱歉,您的浏览器不支持PDF预览,请点击链接下载PDF文件