专利数据库
统计分析
产业报告
专利数据监控
产业人才
行业动态
产业政策法规
维权援助
个人中心
详情
文本
图像
标题
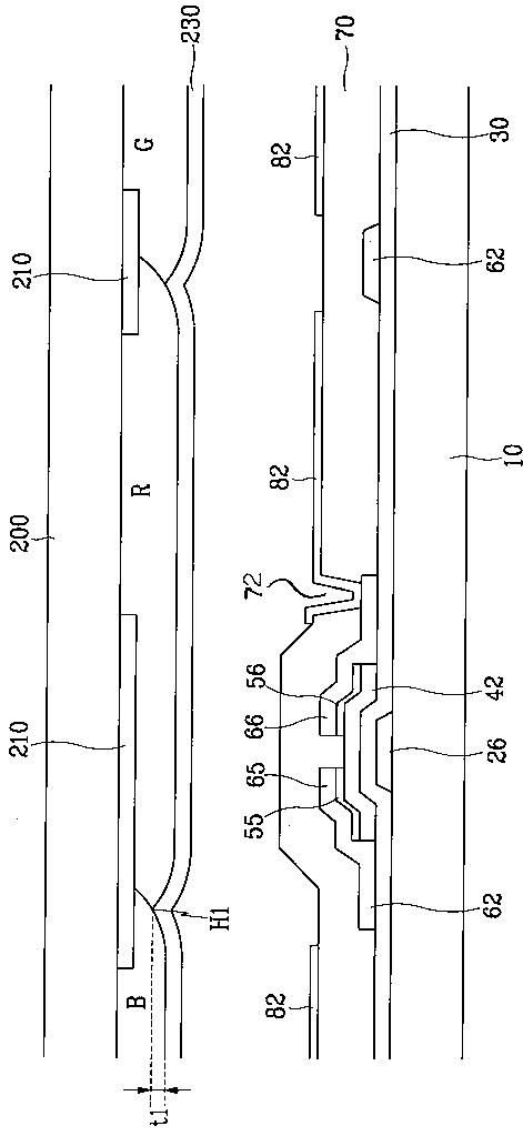
液晶表示装置用色フィルター基板及び薄膜トランジスタ基板並びにこれらの製造方法
授权日
1900-01-01
公开(公告)号
JP2010092072A
申请日
2010-01-08
公开(公告)日
2010-04-22
当前申请(专利权)人
三星ディスプレイ株式會社
发明人
金 東 奎
简单同族
JP2003075820A | JP2010092072A | JP2011043849A | JP4700254B2 | JP5281590B2 | JP5328747B2 | KR100816333B1 | KR1020030018619A | TWI286255B | US20030043318A1 | US20090027601A1 | US20100296034A1 | US7443465 | US7742130
简单同族成员数量
14
简单同族被引用专利总数
74
诉讼案件数
0
法律状态/事件
未缴年费 | 权利转移
抱歉,您的浏览器不支持PDF预览,请点击链接下载PDF文件