专利数据库
统计分析
产业报告
专利数据监控
产业人才
行业动态
产业政策法规
维权援助
个人中心
详情
文本
图像
标题
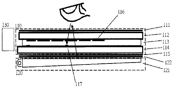
液晶表示装置
授权日
1900-01-01
公开(公告)号
JP2012058714A
申请日
2011-02-23
公开(公告)日
2012-03-22
当前申请(专利权)人
▲ぎょく▼瀚科技股▲ふん▼有限公司
发明人
沈 毓仁
简单同族
DE102010056011A1 | JP2012058714A | TW201106044A | TWI408437B | US20110096035A1
简单同族成员数量
5
简单同族被引用专利总数
54
诉讼案件数
0
法律状态/事件
驳回
抱歉,您的浏览器不支持PDF预览,请点击链接下载PDF文件