专利数据库
统计分析
产业报告
专利数据监控
产业人才
行业动态
产业政策法规
维权援助
个人中心
详情
文本
图像
标题
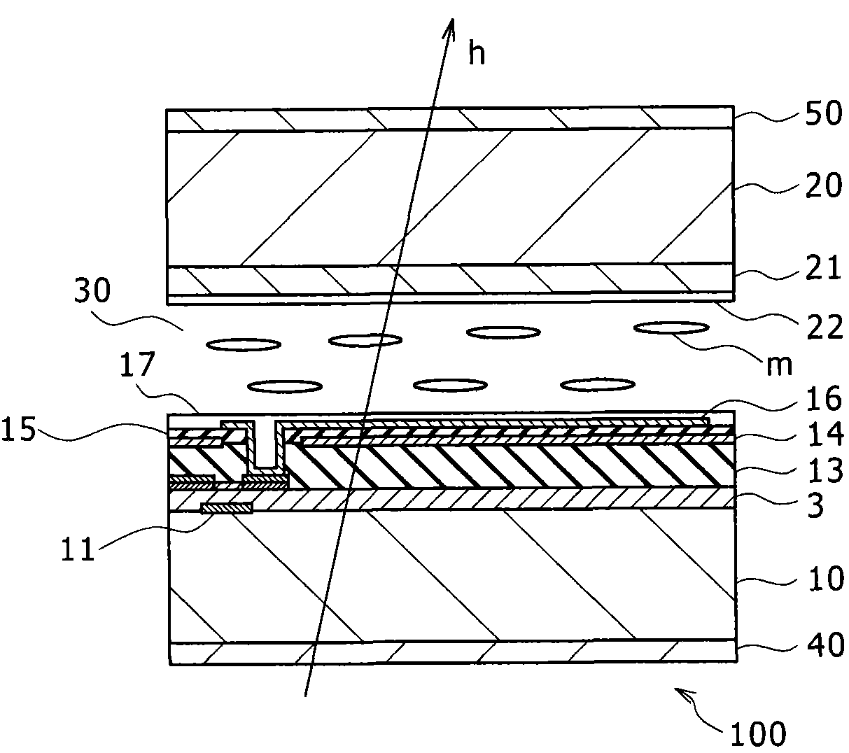
液晶显示装置和显示设备
授权日
2012-08-15
公开(公告)号
CN101750818B
申请日
2008-02-26
公开(公告)日
2012-08-15
当前申请(专利权)人
株式会社日本显示器西
发明人
田中大直 | 野口幸治 | 金谷康弘 | 中岛大贵 | 野津大辅 | 猪野益充
简单同族
CN100592183C | CN101256324A | CN101750818A | CN101750818B | JP2008209686A | JP4544251B2 | KR101600912B1 | KR1020080079594A | KR1020150001705A | TW200900822A | TWI380103B | US20080204648A1 | US7920241
简单同族成员数量
13
简单同族被引用专利总数
70
诉讼案件数
0
法律状态/事件
授权 | 权利转移
抱歉,您的浏览器不支持PDF预览,请点击链接下载PDF文件