专利数据库
统计分析
产业报告
专利数据监控
产业人才
行业动态
产业政策法规
维权援助
个人中心
详情
文本
图像
标题
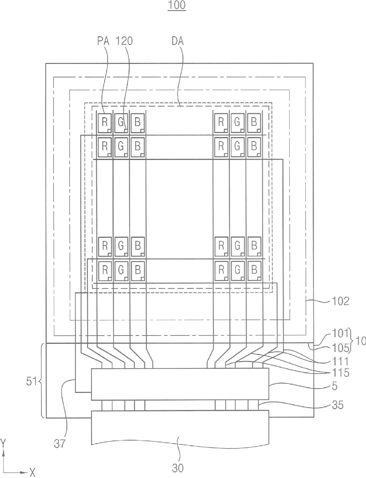
アレイ基板、これの製造方法、及びこれを有する液晶表示装置
授权日
2014-08-15
公开(公告)号
JP5596305B2
申请日
2009-06-05
公开(公告)日
2014-09-24
当前申请(专利权)人
三星ディスプレイ株式會社
发明人
劉 恵 蘭 | 厳 允 成 | 金 寿 ▲ジョン▼ | 柳 在 鎮 | 朴 乗 範
简单同族
CN101639597A | CN101639597B | EP2149813A1 | EP2149813B1 | JP2010033028A | JP5596305B2 | KR1020100012080A | US20100019998A1 | US20120119215A1 | US8199088
简单同族成员数量
10
简单同族被引用专利总数
50
诉讼案件数
0
法律状态/事件
授权 | 权利转移
抱歉,您的浏览器不支持PDF预览,请点击链接下载PDF文件