专利数据库
统计分析
产业报告
专利数据监控
产业人才
行业动态
产业政策法规
维权援助
个人中心
详情
文本
图像
标题
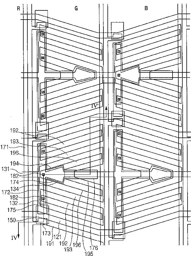
薄膜トランジスタ表示板及びこれを含む液晶表示装置
授权日
1900-01-01
公开(公告)号
JP2011138158A
申请日
2011-02-28
公开(公告)日
2011-07-14
当前申请(专利权)人
三星電子株式会社
发明人
李 昶 勳 | 倉 學 ▲スン▼ | 韓 銀 姫 | 金 兌 奐
简单同族
CN1573491A | CN1573491B | JP2004361949A | JP2011138158A | JP4776893B2 | JP5085750B2 | KR100984345B1 | KR1020040103629A | TW200510887A | TWI269110B | US20040238823A1 | US20060091391A1 | US20070187691A1 | US7009206 | US7211827
简单同族成员数量
15
简单同族被引用专利总数
103
诉讼案件数
0
法律状态/事件
授权 | 权利转移
抱歉,您的浏览器不支持PDF预览,请点击链接下载PDF文件