专利数据库
统计分析
产业报告
专利数据监控
产业人才
行业动态
产业政策法规
维权援助
个人中心
详情
文本
图像
标题
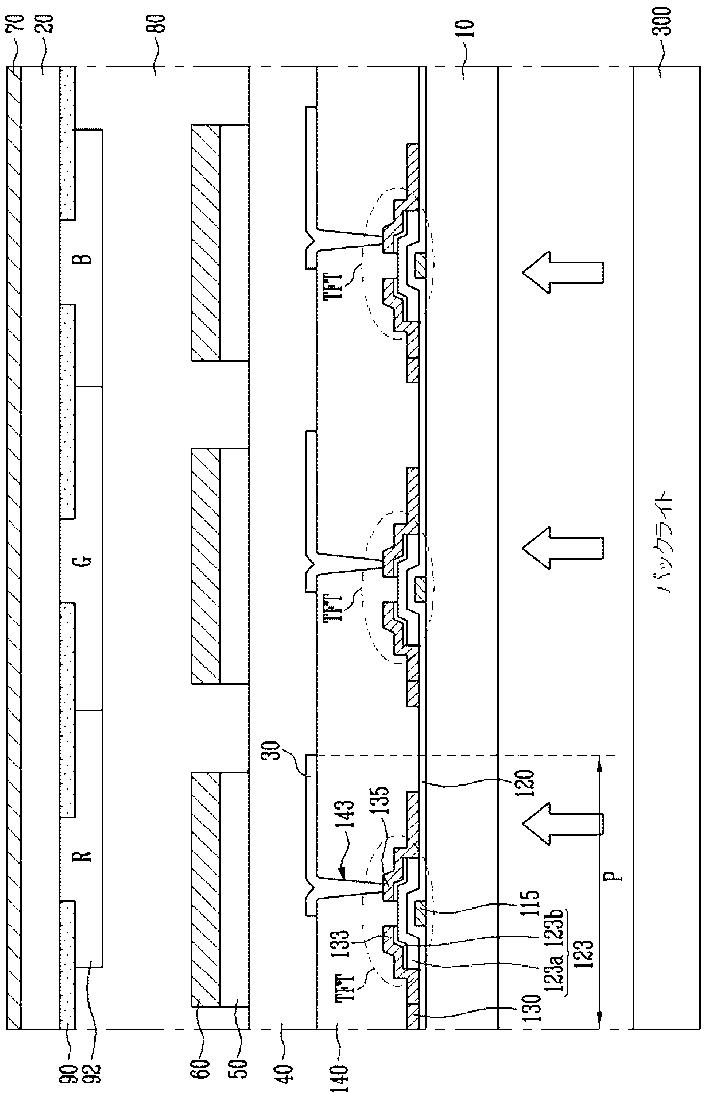
タッチスクリーンパネル一体型液晶表示装置
授权日
1900-01-01
公开(公告)号
JP2012103658A
申请日
2011-01-14
公开(公告)日
2012-05-31
当前申请(专利权)人
三星モバイルディスプレイ株式會社
发明人
宋 成 勳 | 全 相 ▲げん▼
简单同族
JP2012103658A | KR101799029B1 | KR1020120049428A | US20120113027A1 | US9348448
简单同族成员数量
5
简单同族被引用专利总数
63
诉讼案件数
0
法律状态/事件
驳回 | 权利转移
抱歉,您的浏览器不支持PDF预览,请点击链接下载PDF文件