专利数据库
统计分析
产业报告
专利数据监控
产业人才
行业动态
产业政策法规
维权援助
个人中心
详情
文本
图像
标题
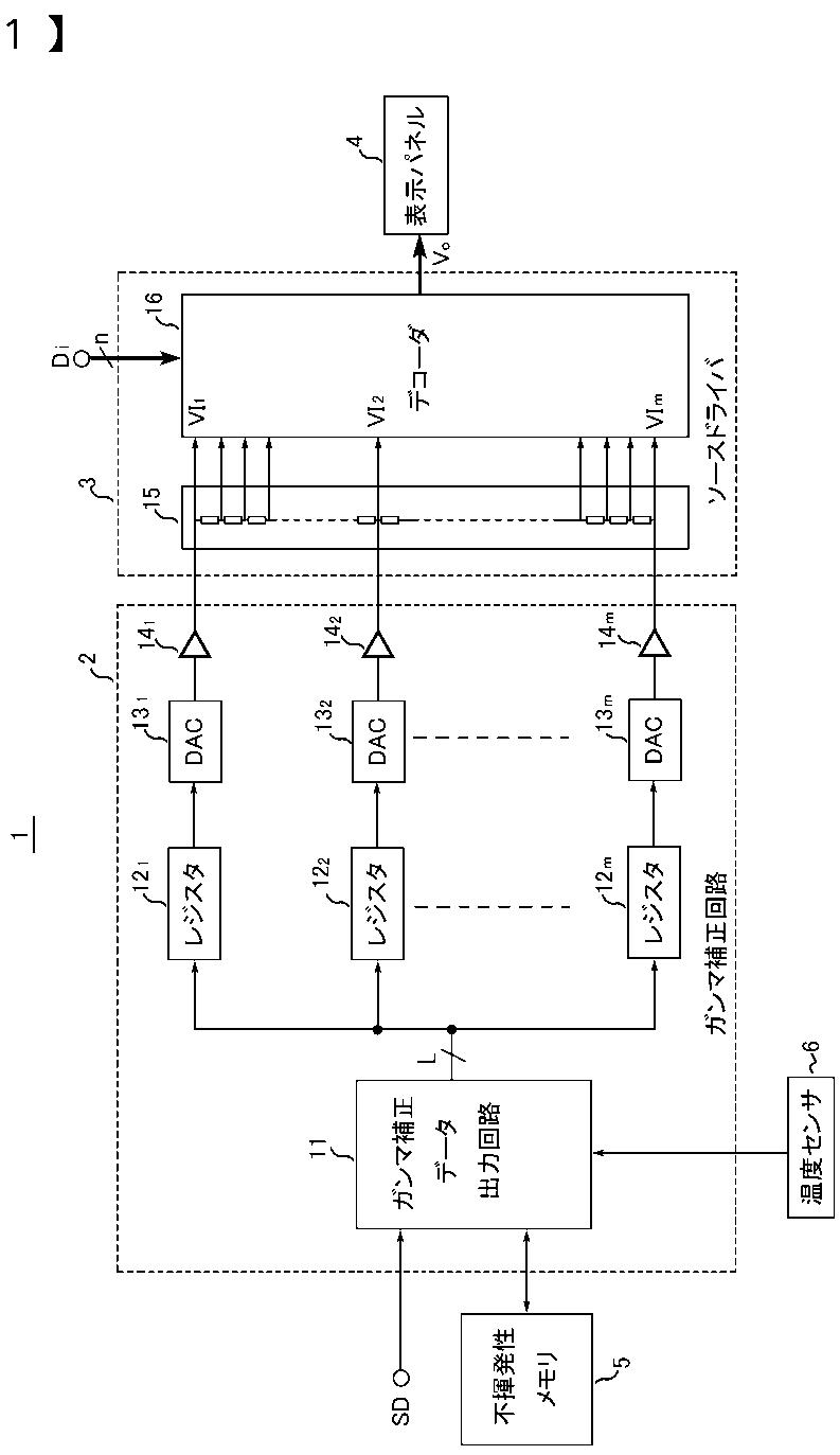
ガンマ補正回路及びそれを備える表示装置
授权日
2008-10-17
公开(公告)号
JP4201193B2
申请日
2004-03-17
公开(公告)日
2008-12-24
当前申请(专利权)人
ローム株式会社
发明人
中田 健一
简单同族
CN1954353A | JP2005266154A | JP4201193B2 | KR1020060132942A | TW200601226A | US20070262972A1 | WO2005088590A1
简单同族成员数量
7
简单同族被引用专利总数
65
诉讼案件数
0
法律状态/事件
未缴年费
抱歉,您的浏览器不支持PDF预览,请点击链接下载PDF文件