专利数据库
统计分析
产业报告
专利数据监控
产业人才
行业动态
产业政策法规
维权援助
个人中心
详情
文本
图像
标题
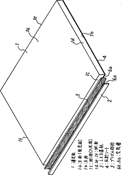
面状光源装置及びこれを備えた液晶表示装置
授权日
1900-01-01
公开(公告)号
JP2003132722A
申请日
2001-10-22
公开(公告)日
2003-05-09
当前申请(专利权)人
株式会社アドバンスト·ディスプレイ
发明人
伊藤 敦史 | 小河 育夫 | 谷内 滋
简单同族
JP2003132722A | JP3931070B2 | KR100714209B1 | KR1020030035850A | TW580550B | US20030076669A1 | US6805468
简单同族成员数量
7
简单同族被引用专利总数
181
诉讼案件数
0
法律状态/事件
未缴年费 | 权利转移
抱歉,您的浏览器不支持PDF预览,请点击链接下载PDF文件