专利数据库
统计分析
产业报告
专利数据监控
产业人才
行业动态
产业政策法规
维权援助
个人中心
详情
文本
图像
标题
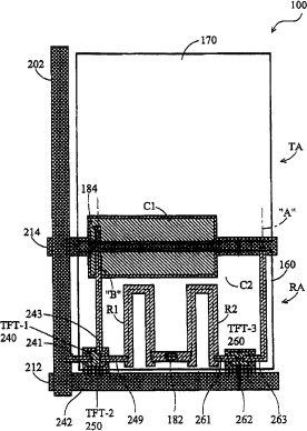
单间隙透反式液晶显示面板以及改善其光学特性的方法
授权日
2008-11-12
公开(公告)号
CN100432768C
申请日
2006-06-15
公开(公告)日
2008-11-12
当前申请(专利权)人
友达光电股份有限公司
发明人
林永伦 | 林敬桓
简单同族
CN100432768C | CN1866087A | JP2007156429A | JP4871084B2 | TW200720751A | TWI273313B | US20070120797A1 | US7576720
简单同族成员数量
8
简单同族被引用专利总数
89
诉讼案件数
0
法律状态/事件
授权
抱歉,您的浏览器不支持PDF预览,请点击链接下载PDF文件