专利数据库
统计分析
产业报告
专利数据监控
产业人才
行业动态
产业政策法规
维权援助
个人中心
详情
文本
图像
标题
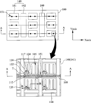
液晶显示装置
授权日
1900-01-01
公开(公告)号
CN102445799A
申请日
2011-09-29
公开(公告)日
2012-05-09
当前申请(专利权)人
乐金显示有限公司
发明人
宋寅赫
简单同族
CN102445799A | CN102445799B | KR101790977B1 | KR1020120036521A | TW201215975A | TWI467297B | US20120086654A1 | US8982064
简单同族成员数量
8
简单同族被引用专利总数
83
诉讼案件数
0
法律状态/事件
授权
抱歉,您的浏览器不支持PDF预览,请点击链接下载PDF文件