专利数据库
统计分析
产业报告
专利数据监控
产业人才
行业动态
产业政策法规
维权援助
个人中心
详情
文本
图像
标题
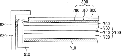
与液晶显示器集成的触摸板
授权日
2009-08-05
公开(公告)号
CN100523930C
申请日
2003-12-24
公开(公告)日
2009-08-05
当前申请(专利权)人
乐金显示有限公司
发明人
方龙翼 | 金宰范 | 刘泰虎 | 朴喜正
简单同族
CN100523930C | CN1510479A | KR100640997B1 | KR1020040056746A | US20040135773A1 | US7557869
简单同族成员数量
6
简单同族被引用专利总数
129
诉讼案件数
0
法律状态/事件
授权
抱歉,您的浏览器不支持PDF预览,请点击链接下载PDF文件