专利数据库
统计分析
产业报告
专利数据监控
产业人才
行业动态
产业政策法规
维权援助
个人中心
详情
文本
图像
标题
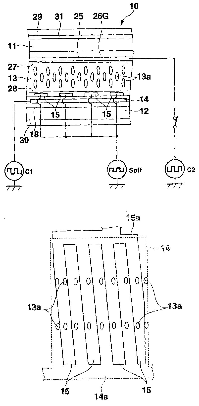
液晶显示装置及其驱动方法、电子设备、便携电话机
授权日
1900-01-01
公开(公告)号
CN101739979A
申请日
2006-05-31
公开(公告)日
2010-06-16
当前申请(专利权)人
奥特司科技株式会社
发明人
西野利晴 | 小林君平 | 荒井则博 | 指田英树
简单同族
CN101739979A | CN101739979B | CN1892370A | CN1892370B | HK1101611A | HK1101611A1 | JP2006337600A | JP4639968B2 | KR100830035B1 | KR1020060125533A | TW200702860A | TWI356256B | US20060267905A1
简单同族成员数量
13
简单同族被引用专利总数
71
诉讼案件数
0
法律状态/事件
授权 | 权利转移
抱歉,您的浏览器不支持PDF预览,请点击链接下载PDF文件