专利数据库
统计分析
产业报告
专利数据监控
产业人才
行业动态
产业政策法规
维权援助
个人中心
详情
文本
图像
标题
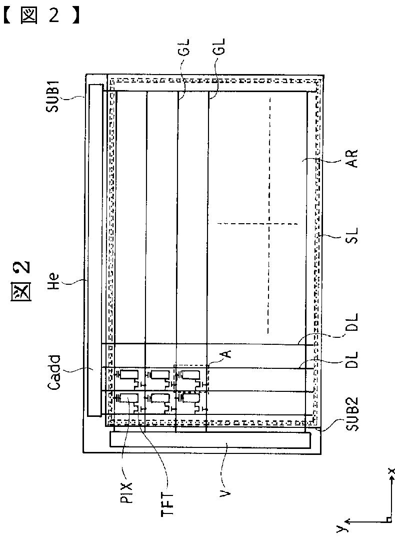
液晶表示装置
授权日
2006-08-18
公开(公告)号
JP3842529B2
申请日
2000-07-14
公开(公告)日
2006-11-08
当前申请(专利权)人
株式会社日立製作所
发明人
今林 真紀子 | 長谷川 真二 | 岩壁 靖
简单同族
JP2002031805A | JP3842529B2 | KR100498625B1 | KR1020020007164A | TWI285779B | US20020005929A1 | US6678030
简单同族成员数量
7
简单同族被引用专利总数
69
诉讼案件数
0
法律状态/事件
未缴年费 | 权利转移
抱歉,您的浏览器不支持PDF预览,请点击链接下载PDF文件