专利数据库
统计分析
产业报告
专利数据监控
产业人才
行业动态
产业政策法规
维权援助
个人中心
详情
文本
图像
标题
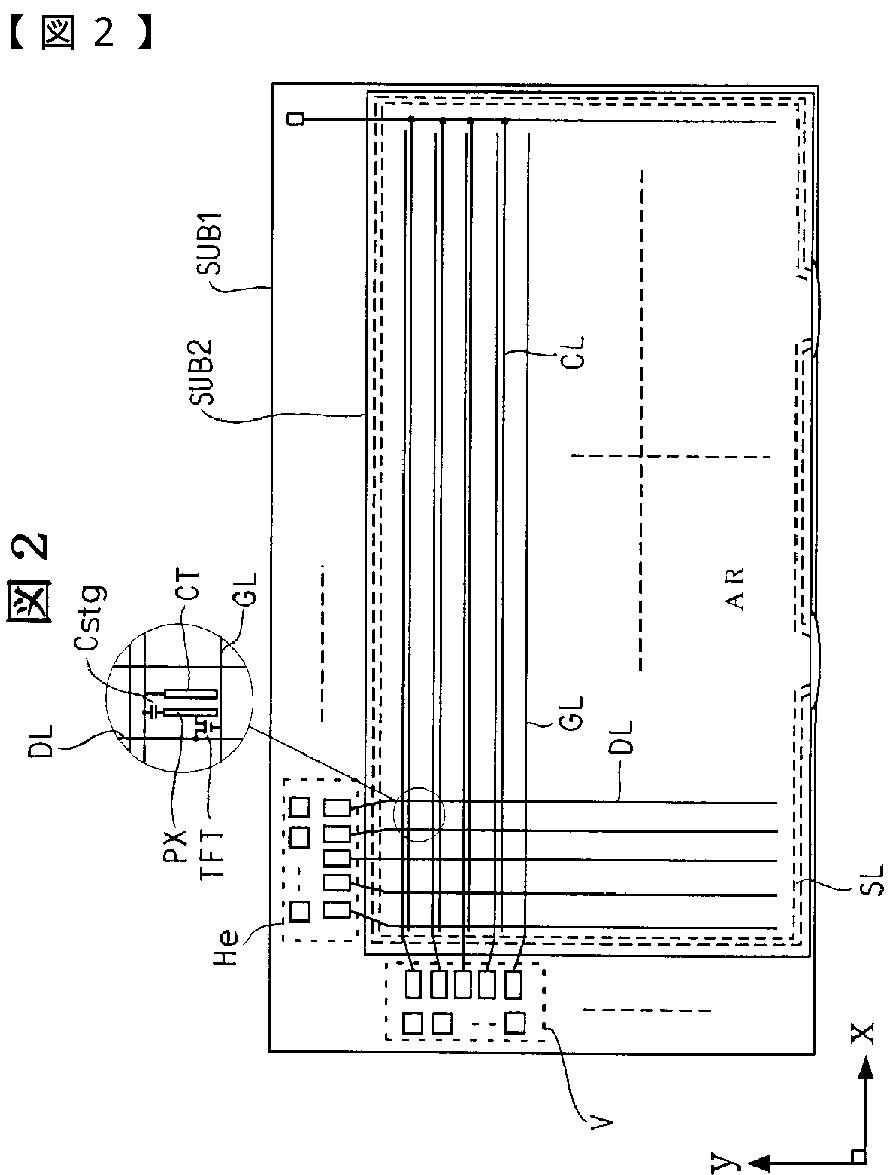
表示装置
授权日
2008-10-10
公开(公告)号
JP4197233B2
申请日
2002-03-20
公开(公告)日
2008-12-17
当前申请(专利权)人
株式会社日立製作所
发明人
川村 徹也 | 柳川 和彦 | 倉橋 永年 | 内田 剛志
简单同族
JP2003280018A | JP4197233B2 | US20030231149A1 | US20060232532A1 | US20090128766A1 | US20120026445A1 | US20130128209A1 | US20150253641A1 | US20170299931A1 | US7064734 | US8045123 | US8248567 | US8363196
简单同族成员数量
13
简单同族被引用专利总数
55
诉讼案件数
0
法律状态/事件
授权 | 权利转移
抱歉,您的浏览器不支持PDF预览,请点击链接下载PDF文件