专利数据库
统计分析
产业报告
专利数据监控
产业人才
行业动态
产业政策法规
维权援助
个人中心
详情
文本
图像
标题
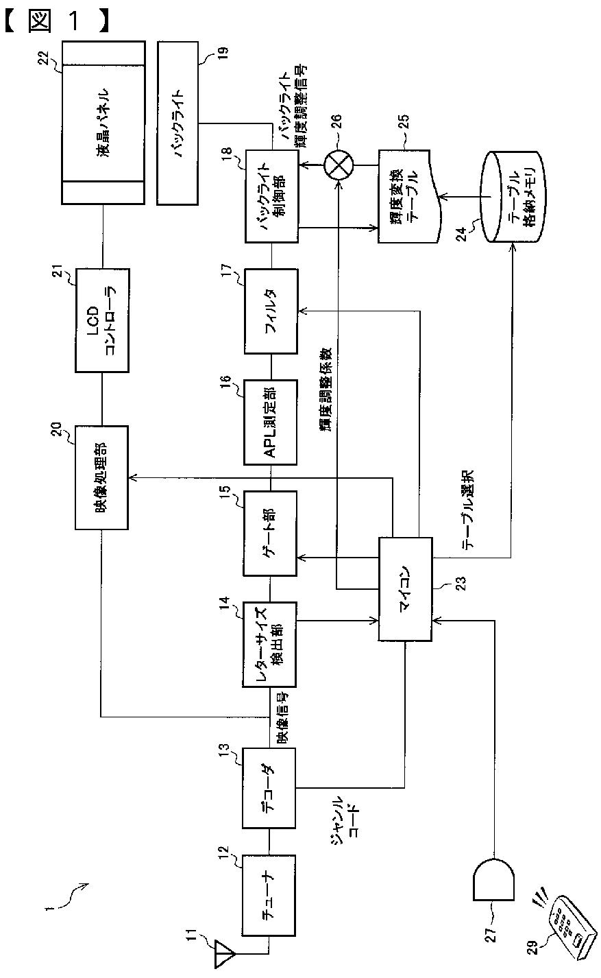
液晶表示装置
授权日
2007-05-11
公开(公告)号
JP3953506B2
申请日
2006-10-04
公开(公告)日
2007-08-08
当前申请(专利权)人
シャープ株式会社
发明人
藤根 俊之 | 小橋川 誠司
简单同族
CN101268502A | CN101268502B | EP1939850A1 | EP1939850A4 | JP2007140483A | JP3953506B2 | KR100934070B1 | KR1020080040749A | TW200721085A | US20090146941A1 | US8232956 | WO2007046319A1
简单同族成员数量
12
简单同族被引用专利总数
102
诉讼案件数
0
法律状态/事件
授权
抱歉,您的浏览器不支持PDF预览,请点击链接下载PDF文件