专利数据库
统计分析
产业报告
专利数据监控
产业人才
行业动态
产业政策法规
维权援助
个人中心
详情
文本
图像
标题
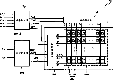
液晶显示器及其驱动方法
授权日
1900-01-01
公开(公告)号
CN101399026A
申请日
2008-09-25
公开(公告)日
2009-04-01
当前申请(专利权)人
三星显示有限公司
发明人
朴商镇
简单同族
CN101399026A | CN101399026B | EP2043083A1 | EP2043083B1 | JP2009086620A | JP5363007B2 | KR101599351B1 | KR1020090032712A | US20090086116A1 | US8059219
简单同族成员数量
10
简单同族被引用专利总数
66
诉讼案件数
0
法律状态/事件
授权 | 权利转移
抱歉,您的浏览器不支持PDF预览,请点击链接下载PDF文件