专利数据库
统计分析
产业报告
专利数据监控
产业人才
行业动态
产业政策法规
维权援助
个人中心
详情
文本
图像
标题
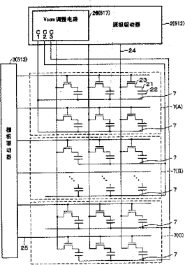
液晶显示装置及其驱动方法
授权日
1900-01-01
公开(公告)号
CN1506719A
申请日
2003-12-10
公开(公告)日
2004-06-23
当前申请(专利权)人
夏普株式会社
发明人
小川嘉规 | 田中茂树
简单同族
CN1276288C | CN1506719A | JP2004191581A | KR100593765B1 | KR1020040050868A | TW200413766A | TWI243927B | US20040164943A1
简单同族成员数量
8
简单同族被引用专利总数
101
诉讼案件数
0
法律状态/事件
未缴年费
抱歉,您的浏览器不支持PDF预览,请点击链接下载PDF文件