专利数据库
统计分析
产业报告
专利数据监控
产业人才
行业动态
产业政策法规
维权援助
个人中心
详情
文本
图像
标题
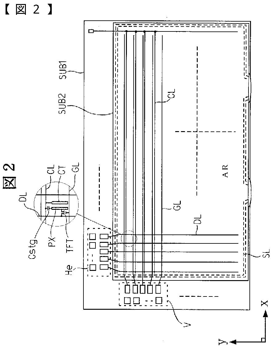
液晶表示装置
授权日
2007-08-24
公开(公告)号
JP4002105B2
申请日
2002-01-15
公开(公告)日
2007-10-31
当前申请(专利权)人
株式会社日立製作所
发明人
仲吉 良彰 | 柳川 和彦
简单同族
JP2003207795A | JP4002105B2
简单同族成员数量
2
简单同族被引用专利总数
82
诉讼案件数
0
法律状态/事件
未缴年费 | 权利转移
抱歉,您的浏览器不支持PDF预览,请点击链接下载PDF文件