专利数据库
统计分析
产业报告
专利数据监控
产业人才
行业动态
产业政策法规
维权援助
个人中心
详情
文本
图像
标题
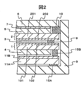
表示装置
授权日
1900-01-01
公开(公告)号
JP2007256797A
申请日
2006-03-24
公开(公告)日
2007-10-04
当前申请(专利权)人
株式会社 日立ディスプレイズ | パナソニック液晶ディスプレイ株式会社
发明人
佐藤 努 | 柳原 雅之 | 福田 晃一
简单同族
CN100480811C | CN101042492A | JP2007256797A | JP4738223B2 | KR100817991B1 | KR1020070096873A | TW200745669A | TWI346809B | US20070222912A1 | US20090231508A1 | US7542105 | US7864264
简单同族成员数量
12
简单同族被引用专利总数
100
诉讼案件数
0
法律状态/事件
授权 | 权利转移
抱歉,您的浏览器不支持PDF预览,请点击链接下载PDF文件