专利数据库
统计分析
产业报告
专利数据监控
产业人才
行业动态
产业政策法规
维权援助
个人中心
详情
文本
图像
标题
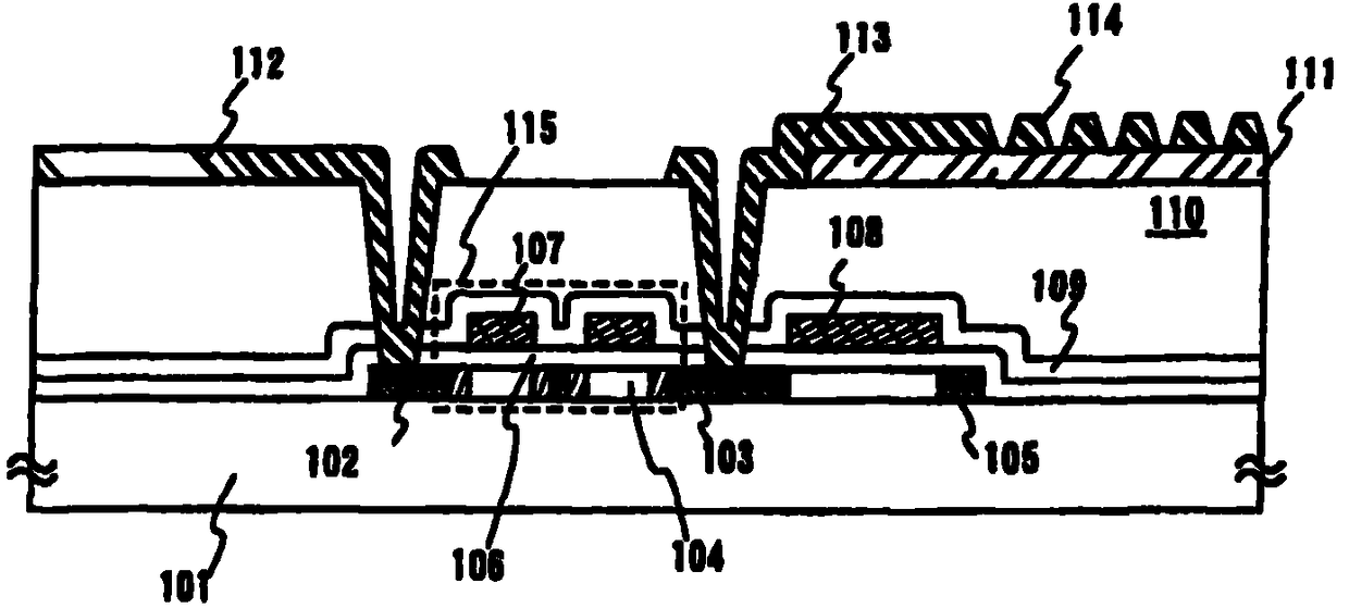
液晶显示装置
授权日
2013-03-27
公开(公告)号
CN101334548B
申请日
2003-03-03
公开(公告)日
2013-03-27
当前申请(专利权)人
株式会社半导体能源研究所
发明人
山崎舜平 | 江口晋吾 | 盐野入丰 | 藤本悦子
简单同族
CN101334548A | CN101334548B | CN1442741A | CN1442741B | JP2003255374A | JP2003255374A5 | JP4101533B2 | KR100967823B1 | KR1020030071627A | TW200307825A | TWI308235B | US20030164910A1 | US20060197883A1 | US20160377918A1 | US7053969 | US9448432
简单同族成员数量
16
简单同族被引用专利总数
78
诉讼案件数
0
法律状态/事件
未缴年费
抱歉,您的浏览器不支持PDF预览,请点击链接下载PDF文件