专利数据库
统计分析
产业报告
专利数据监控
产业人才
行业动态
产业政策法规
维权援助
个人中心
详情
文本
图像
标题
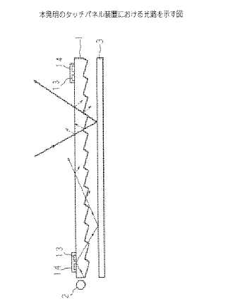
タッチパネル装置
授权日
1900-01-01
公开(公告)号
JP2004078613A
申请日
2002-08-19
公开(公告)日
2004-03-11
当前申请(专利权)人
富士通株式会社
发明人
中沢 文彦 | 有竹 敬和
简单同族
CN101004654A | CN101004654B | CN1310121C | CN1487399A | JP2004078613A | US20040032401A1 | US7489304
简单同族成员数量
7
简单同族被引用专利总数
188
诉讼案件数
0
法律状态/事件
驳回
抱歉,您的浏览器不支持PDF预览,请点击链接下载PDF文件