专利数据库
统计分析
产业报告
专利数据监控
产业人才
行业动态
产业政策法规
维权援助
个人中心
详情
文本
图像
标题
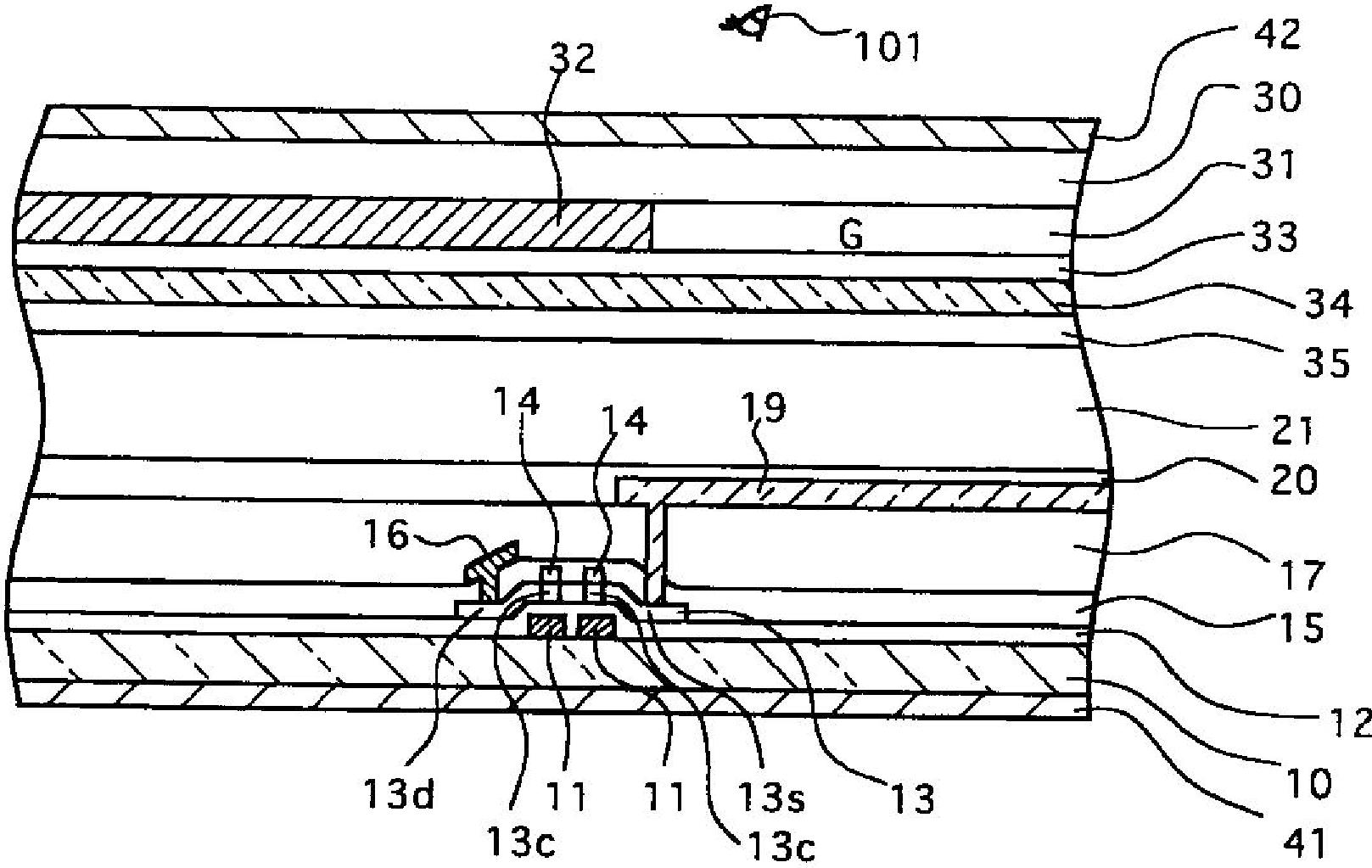
液晶表示装置
授权日
2005-06-10
公开(公告)号
JP3685795B2
申请日
2003-11-10
公开(公告)日
2005-08-24
当前申请(专利权)人
三洋電機株式会社
发明人
西川 龍司 | 宮島 康志 | 古河 雅行 | 小林 貢
简单同族
DE69940189D1 | EP1006394A1 | EP1006394B1 | EP1734400A1 | EP1734400B1 | JP2001194671A | JP2004139108A | JP2005092247A | JP2005092248A | JP2005099870A | JP3685795B2 | JP3869600B2 | JP4086841B2 | JP4086842B2 | KR100521286B1 | KR100549750B1 | KR100671923B1 | KR100674555B1 | KR100674556B1 | KR1020000035709A | KR1020050077810A | KR1020050086385A | KR1020050086386A | KR1020050086387A | TW546528B | US20060038948A1 | US20060285045A1 | US20070046875A1 | US20070046876A1 | US7119870 | US7139056 | US7251003 | US7295273
简单同族成员数量
33
简单同族被引用专利总数
147
诉讼案件数
0
法律状态/事件
期限届满
抱歉,您的浏览器不支持PDF预览,请点击链接下载PDF文件