专利数据库
统计分析
产业报告
专利数据监控
产业人才
行业动态
产业政策法规
维权援助
个人中心
详情
文本
图像
标题
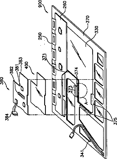
液晶表示装置
授权日
1900-01-01
公开(公告)号
JP2002350807A
申请日
2001-10-18
公开(公告)日
2002-12-04
当前申请(专利权)人
サムスン エレクトロニクス カンパニー リミテッド
发明人
朴 尚 勲
简单同族
CN1260601C | CN1387072A | JP2002350807A | JP4404509B2 | KR100793727B1 | KR1020020088196A | TWI233516B | US20030007109A1 | US6933990
简单同族成员数量
9
简单同族被引用专利总数
147
诉讼案件数
0
法律状态/事件
授权 | 权利转移
抱歉,您的浏览器不支持PDF预览,请点击链接下载PDF文件