专利数据库
统计分析
产业报告
专利数据监控
产业人才
行业动态
产业政策法规
维权援助
个人中心
详情
文本
图像
标题
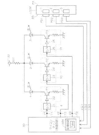
ディスプレイ装置用背面光源、液晶ディスプレイ装置及び背面光源の調整方法
授权日
1900-01-01
公开(公告)号
JP2004029141A
申请日
2002-06-21
公开(公告)日
2004-01-29
当前申请(专利权)人
三菱電機株式会社
发明人
小澤 昌彦 | 金子 英之 | 杉浦 博明
简单同族
JP2004029141A | JP3766042B2
简单同族成员数量
2
简单同族被引用专利总数
97
诉讼案件数
0
法律状态/事件
授权
抱歉,您的浏览器不支持PDF预览,请点击链接下载PDF文件