专利数据库
统计分析
产业报告
专利数据监控
产业人才
行业动态
产业政策法规
维权援助
个人中心
详情
文本
图像
标题
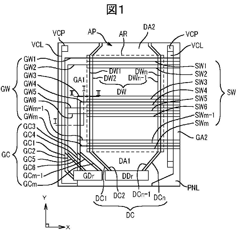
液晶表示装置
授权日
2007-08-31
公开(公告)号
JP4006284B2
申请日
2002-07-17
公开(公告)日
2007-11-14
当前申请(专利权)人
株式会社 日立ディスプレイズ
发明人
石毛 信幸 | 米納 均
简单同族
CN101101419A | CN101101419B | CN1329772C | CN1485666A | JP2004053702A | JP2004053702A5 | JP4006284B2 | KR100592457B1 | KR1020040008089A | TW200417800A | TWI274948B | US20040012744A1 | US20070216822A1 | US20100039600A1 | US7304710 | US7944538
简单同族成员数量
16
简单同族被引用专利总数
163
诉讼案件数
0
法律状态/事件
授权 | 权利转移
抱歉,您的浏览器不支持PDF预览,请点击链接下载PDF文件