专利数据库
统计分析
产业报告
专利数据监控
产业人才
行业动态
产业政策法规
维权援助
个人中心
详情
文本
图像
标题
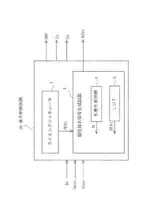
液晶表示装置ならびにその駆動回路および駆動方法
授权日
1900-01-01
公开(公告)号
JP2005140891A
申请日
2003-11-05
公开(公告)日
2005-06-02
当前申请(专利权)人
シャープ株式会社
发明人
細谷 幸彦
简单同族
CN100378792C | CN1614677A | JP2005140891A | JP4148876B2 | KR100674657B1 | KR1020050043665A | TW200519826A | TWI260574B | US20050093806A1 | US7362299
简单同族成员数量
10
简单同族被引用专利总数
61
诉讼案件数
0
法律状态/事件
未缴年费
抱歉,您的浏览器不支持PDF预览,请点击链接下载PDF文件