专利数据库
统计分析
产业报告
专利数据监控
产业人才
行业动态
产业政策法规
维权援助
个人中心
详情
文本
图像
标题
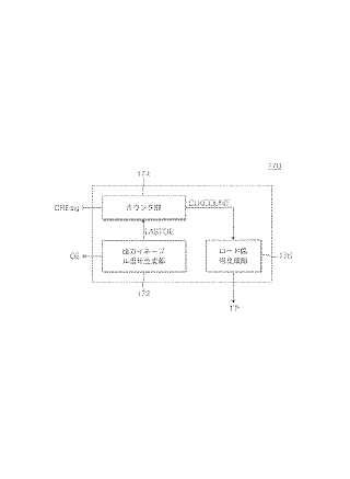
ゲート駆動信号の遅延を補償する方法減少方法及び液晶表示装置
授权日
1900-01-01
公开(公告)号
JP2008165223A
申请日
2007-12-11
公开(公告)日
2008-07-17
当前申请(专利权)人
三星ディスプレイ株式會社
发明人
呂 章 鉉 | 金 宇 哲 | 朴 宰 亨
简单同族
CN101202024A | CN101202024B | CN102820011A | CN102820011B | JP2008165223A | JP2008165223A5 | JP5676069B2 | KR101344835B1 | KR1020080053598A | US20080136756A1 | US8232941
简单同族成员数量
11
简单同族被引用专利总数
110
诉讼案件数
0
法律状态/事件
授权 | 权利转移
抱歉,您的浏览器不支持PDF预览,请点击链接下载PDF文件