专利数据库
统计分析
产业报告
专利数据监控
产业人才
行业动态
产业政策法规
维权援助
个人中心
详情
文本
图像
标题
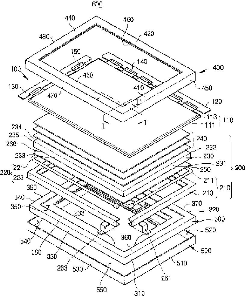
バックライト組立体及びこれを有する液晶表示装置
授权日
1900-01-01
公开(公告)号
JP2005528748A
申请日
2003-02-10
公开(公告)日
2005-09-22
当前申请(专利权)人
サムスン エレクトロニクス カンパニー リミテッド
发明人
ウォン,ヨン-グワン | パク,ジョン·ダ | リー,ソク-ウォン
简单同族
AU2003208038A1 | CN100409074C | CN1656412A | JP2005528748A | JP4142642B2 | KR100840718B1 | KR1020030092879A | US20050140844A1 | US20060239035A1 | US7086761 | WO2003102680A1
简单同族成员数量
11
简单同族被引用专利总数
53
诉讼案件数
0
法律状态/事件
未缴年费 | 权利转移
抱歉,您的浏览器不支持PDF预览,请点击链接下载PDF文件