专利数据库
统计分析
产业报告
专利数据监控
产业人才
行业动态
产业政策法规
维权援助
个人中心
详情
文本
图像
标题
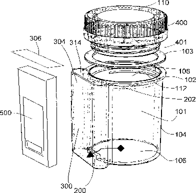
Specimen collection and assay container
授权日
2013-03-12
公开(公告)号
US8394626
申请日
2009-06-02
公开(公告)日
2013-03-12
当前申请(专利权)人
ALERE SWITZERLAND GMBH
发明人
RAMSEY, JAMES T. | HARTSELLE, LARRY
简单同族
US20040132091A1 | US20100028981A1 | US20130287650A1 | US7560272 | US8394626 | US8865458
简单同族成员数量
6
简单同族被引用专利总数
120
诉讼案件数
0
法律状态/事件
授权 | 权利转移
抱歉,您的浏览器不支持PDF预览,请点击链接下载PDF文件