专利数据库
统计分析
产业报告
专利数据监控
产业人才
行业动态
产业政策法规
维权援助
个人中心
详情
文本
图像
标题
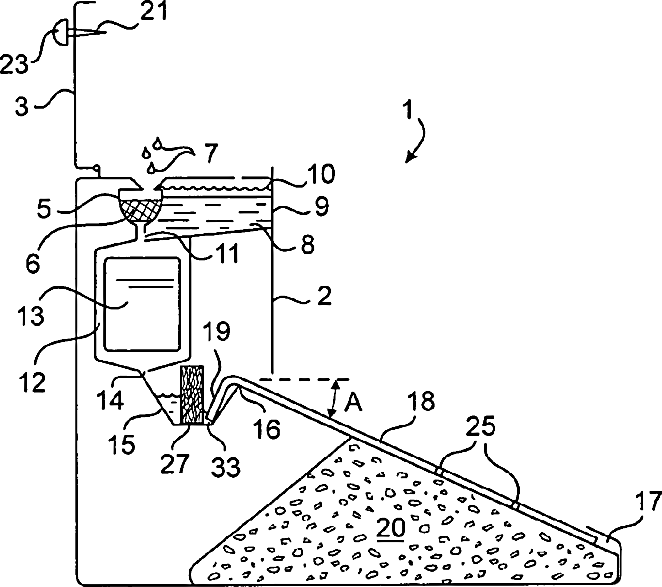
Delayed and diffused flow rapid confirmatory immunological testing apparatus and method
授权日
1900-01-01
公开(公告)号
US20060051237A1
申请日
2005-10-26
公开(公告)日
2006-03-09
当前申请(专利权)人
DNT SCIENTIFIC RESEARCH, LLC
发明人
WANG, NAISHU | ZHOU, DAVID F.
简单同族
US20060051237A1 | US20070184492A1 | US7238322 | US7655184
简单同族成员数量
4
简单同族被引用专利总数
63
诉讼案件数
0
法律状态/事件
未缴年费 | 权利转移
抱歉,您的浏览器不支持PDF预览,请点击链接下载PDF文件