专利数据库
统计分析
产业报告
专利数据监控
产业人才
行业动态
产业政策法规
维权援助
个人中心
详情
文本
图像
标题
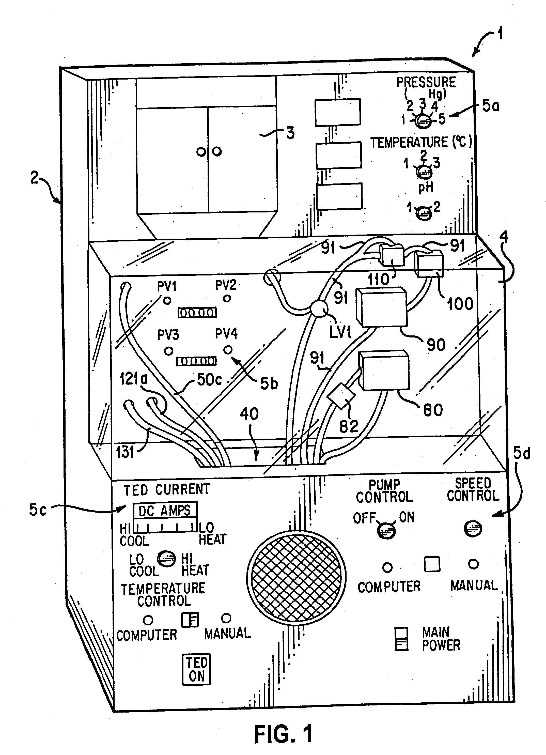
Apparatus and method for determining effects of a substance of an organ
授权日
1900-01-01
公开(公告)号
US20040224298A1
申请日
2004-02-02
公开(公告)日
2004-11-11
当前申请(专利权)人
LIFELINE SCIENTIFIC, INC.
发明人
BRASSIL, JOHN | SCHEIN, DOUGLAS | CURTIS, CHRISTOPHER G.
简单同族
AT406576T | CA2554872A1 | CA2554872C | CN1985170A | DE602005009322D1 | EP1711816A2 | EP1711816B1 | ES2314627T3 | JP2007519763A | JP5329760B2 | US20040224298A1 | US7749693 | WO2005074681A2 | WO2005074681A3
简单同族成员数量
14
简单同族被引用专利总数
95
诉讼案件数
0
法律状态/事件
授权 | 权利转移
抱歉,您的浏览器不支持PDF预览,请点击链接下载PDF文件