专利数据库
统计分析
产业报告
专利数据监控
产业人才
行业动态
产业政策法规
维权援助
个人中心
详情
文本
图像
标题
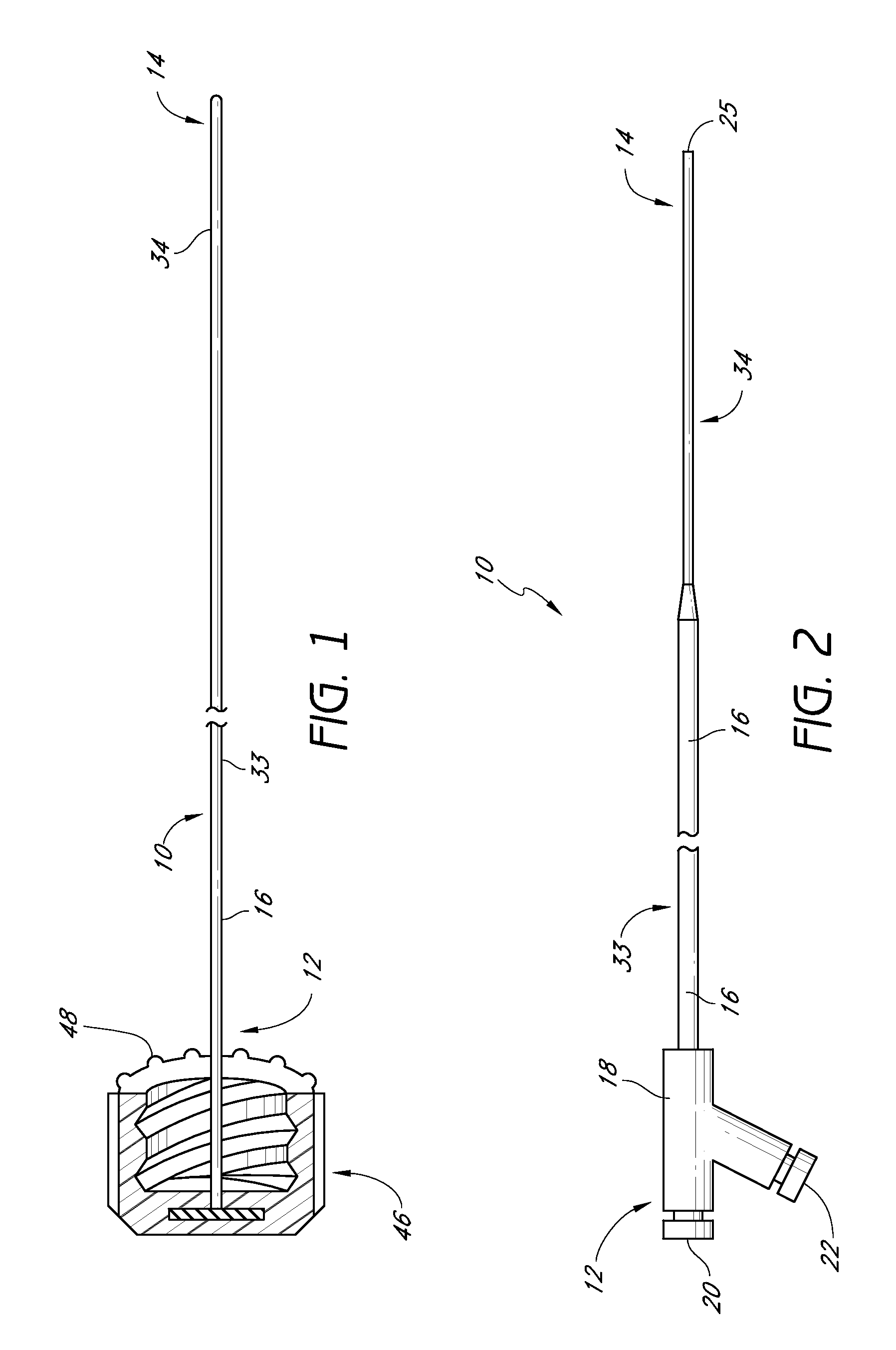
Method and apparatus for in vivo surveillance of circulating biological components
授权日
2011-12-27
公开(公告)号
US8084246
申请日
2008-04-24
公开(公告)日
2011-12-27
当前申请(专利权)人
JOHN WAYNE CANCER INSTITUTE
发明人
HOON, DAVID | TABACK, BRET | SHAOLIAN, SAMUEL
简单同族
US20050153309A1 | US20080241847A1 | US20120191009A1 | US20160007896A1 | US8084246 | US9162884
简单同族成员数量
6
简单同族被引用专利总数
98
诉讼案件数
0
法律状态/事件
授权
抱歉,您的浏览器不支持PDF预览,请点击链接下载PDF文件