专利数据库
统计分析
产业报告
专利数据监控
产业人才
行业动态
产业政策法规
维权援助
个人中心
详情
文本
图像
标题
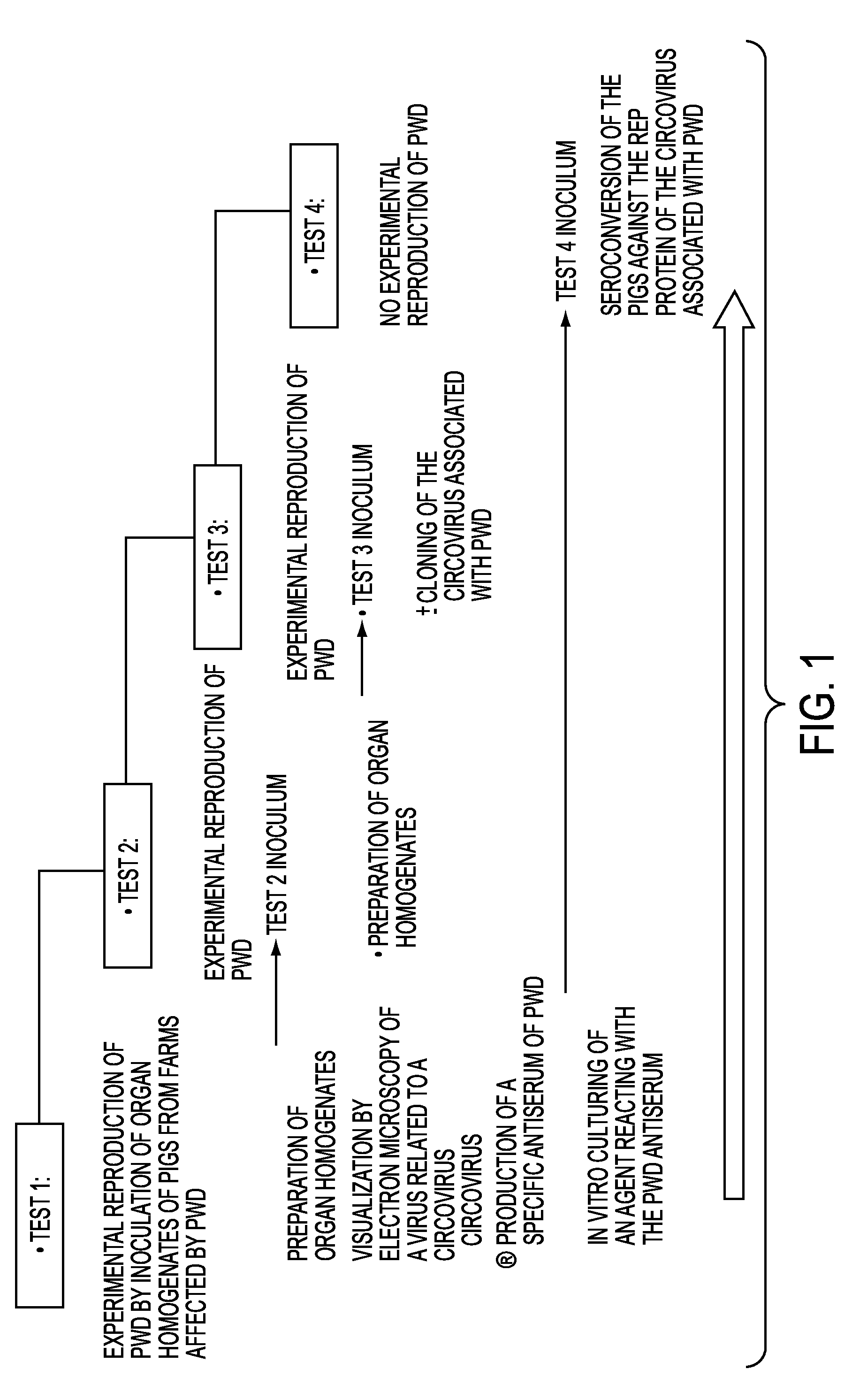
Circovirus sequences associated with piglet weight loss disease (PWD)
授权日
2014-12-23
公开(公告)号
US8916353
申请日
2011-10-20
公开(公告)日
2014-12-23
当前申请(专利权)人
ZOETIS SERVICES LLC
发明人
JESTIN, ANDRE | ALBINA, EMMANUEL | LE CANN, PIERRE | BLANCHARD, PHILIPPE | HUTET, EVELYNE | ARNAULD, CLAIRE | TRUONG, CATHERINE | MAHE, DOMINIQUE | CARIOLET, ROLAND | MADEC, FRANCOIS
简单同族
AT412664T | AU1999014916A1 | BE2014C049I2 | BE2014C050I2 | CY1115405T1 | CY1115424T1 | CY1116761T1 | CY1116837T1 | DE69840174D1 | DK1036180T3 | DK1036180T4 | DK1992696T3 | DK2000535T3 | DK2316925T3 | DK2330188T3 | EP1036180A2 | EP1036180B1 | EP1036180B2 | EP1992696A1 | EP1992696B1 | EP2000535A1 | EP2000535B1 | EP2316925A1 | EP2316925B1 | EP2330188A1 | EP2330188B1 | EP3002331A1 | ES2317679T3 | ES2317679T5 | ES2456959T3 | ES2458309T3 | ES2548145T3 | ES2548146T3 | FR2772047A1 | FR2772047B1 | HK1125676A | HK1125676A1 | HK1126522A | HK1126522A1 | HK1158254A | HK1158254A1 | HK1158694A | HK1158694A1 | HK1222415A | HK1222415A1 | LU92523I2 | LU92524I2 | PT1036180E | PT1992696E | PT2000535E | PT2316925E | PT2330188E | US10052375 | US20040076635A1 | US20040091502A1 | US20040161410A1 | US20040265848A1 | US20050008651A1 | US20050084497A1 | US20060083756A1 | US20060222663A1 | US20070041989A1 | US20070041990A1 | US20070048780A1 | US20070059324A1 | US20070059325A1 | US20070065925A1 | US20070110767A1 | US20070253971A1 | US20080233147A1 | US20090092627A1 | US20090123490A1 | US20090162918A1 | US20100074919A1 | US20100166791A1 | US20100172924A1 | US20100189732A1 | US20100189733A1 | US20100189734A1 | US20100189735A1 | US20100189736A1 | US20100189743A1 | US20100203072A1 | US20100209453A1 | US20100215690A1 | US20100221276A1 | US20100221283A1 | US20100226934A1 | US20110033489A1 | US20110135677A1 | US20120005768A1 | US20120034630A1 | US20150175668A1 | US20150182616A1 | US20180000927A1 | US6703023 | US7148015 | US7179472 | US7223594 | US7244433 | US7261898 | US7297537 | US7323330 | US7390494 | US7405075 | US7407803 | US7425444 | US7604808 | US7722883 | US7740865 | US7740866 | US7741026 | US7758865 | US7951907 | US8124723 | US8415525 | US8715690 | US8916353 | US9700613 | US9717784 | WO1999029871A2 | WO1999029871A3
简单同族成员数量
122
简单同族被引用专利总数
356
诉讼案件数
0
法律状态/事件
期限届满 | 权利转移
抱歉,您的浏览器不支持PDF预览,请点击链接下载PDF文件