专利数据库
统计分析
产业报告
专利数据监控
产业人才
行业动态
产业政策法规
维权援助
个人中心
详情
文本
图像
标题
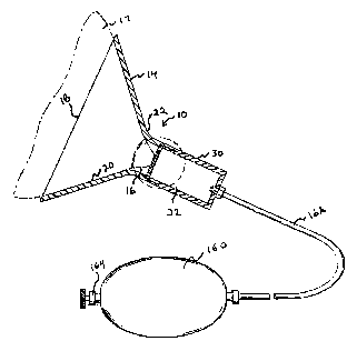
Methods and devices for obtaining and assaying mammary fluid samples for evaluating breast diseases, including cancer
授权日
2006-10-31
公开(公告)号
US7128877
申请日
2003-03-31
公开(公告)日
2006-10-31
当前申请(专利权)人
ATOSSA THERAPEUTICS, INC.
发明人
QUAY, STEVEN C | QUAY, DEBRA L
简单同族
AU1997040850A1 | AU740160B2 | CA2264277A1 | CA2264277C | EP0932699A1 | EP0932699A4 | HK1021649A | JP2000514564A | US20030219812A1 | US5798266 | US6287521 | US7128877 | WO1998008976A1
简单同族成员数量
13
简单同族被引用专利总数
335
诉讼案件数
0
法律状态/事件
未缴年费 | 许可 | 权利转移
抱歉,您的浏览器不支持PDF预览,请点击链接下载PDF文件