专利数据库
统计分析
产业报告
专利数据监控
产业人才
行业动态
产业政策法规
维权援助
个人中心
详情
文本
图像
标题
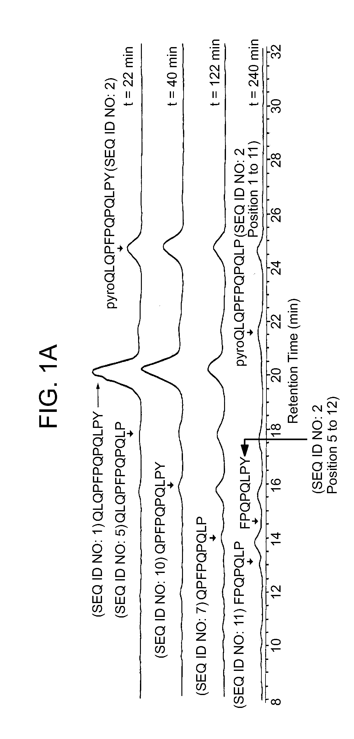
Peptides for diagnostic and therapeutic methods for celiac sprue
授权日
1900-01-01
公开(公告)号
US20090156490A1
申请日
2008-09-25
公开(公告)日
2009-06-18
当前申请(专利权)人
THE BOARD OF TRUSTEES OF THE LELAND STANFORD JUNIOR UNIVERSITY
发明人
KHOSLA, CHAITAN | XIA, JIANG | SIEGEL, MATTHEW JOHN
简单同族
EP1951280A2 | EP1951280A4 | US20060189540A1 | US20080299108A1 | US20090156490A1 | US7462688 | WO2007019411A2 | WO2007019411A3
简单同族成员数量
8
简单同族被引用专利总数
89
诉讼案件数
0
法律状态/事件
撤回 | 权利转移
抱歉,您的浏览器不支持PDF预览,请点击链接下载PDF文件