专利数据库
统计分析
产业报告
专利数据监控
产业人才
行业动态
产业政策法规
维权援助
个人中心
详情
文本
图像
标题
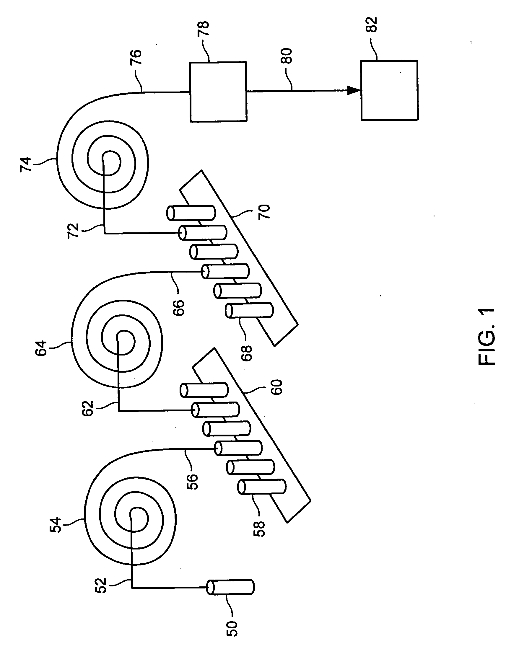
Methods for conducting metabolic analyses
授权日
1900-01-01
公开(公告)号
US20040091943A1
申请日
2003-10-17
公开(公告)日
2004-05-13
当前申请(专利权)人
TARGET DISCOVERY, INC.
发明人
SCHNEIDER, LUKE V.
简单同族
US20040091943A1 | US20050153346A1 | US20090010915A1 | US6764817 | US6849396 | US7435406 | US8003076
简单同族成员数量
7
简单同族被引用专利总数
168
诉讼案件数
0
法律状态/事件
未缴年费
抱歉,您的浏览器不支持PDF预览,请点击链接下载PDF文件