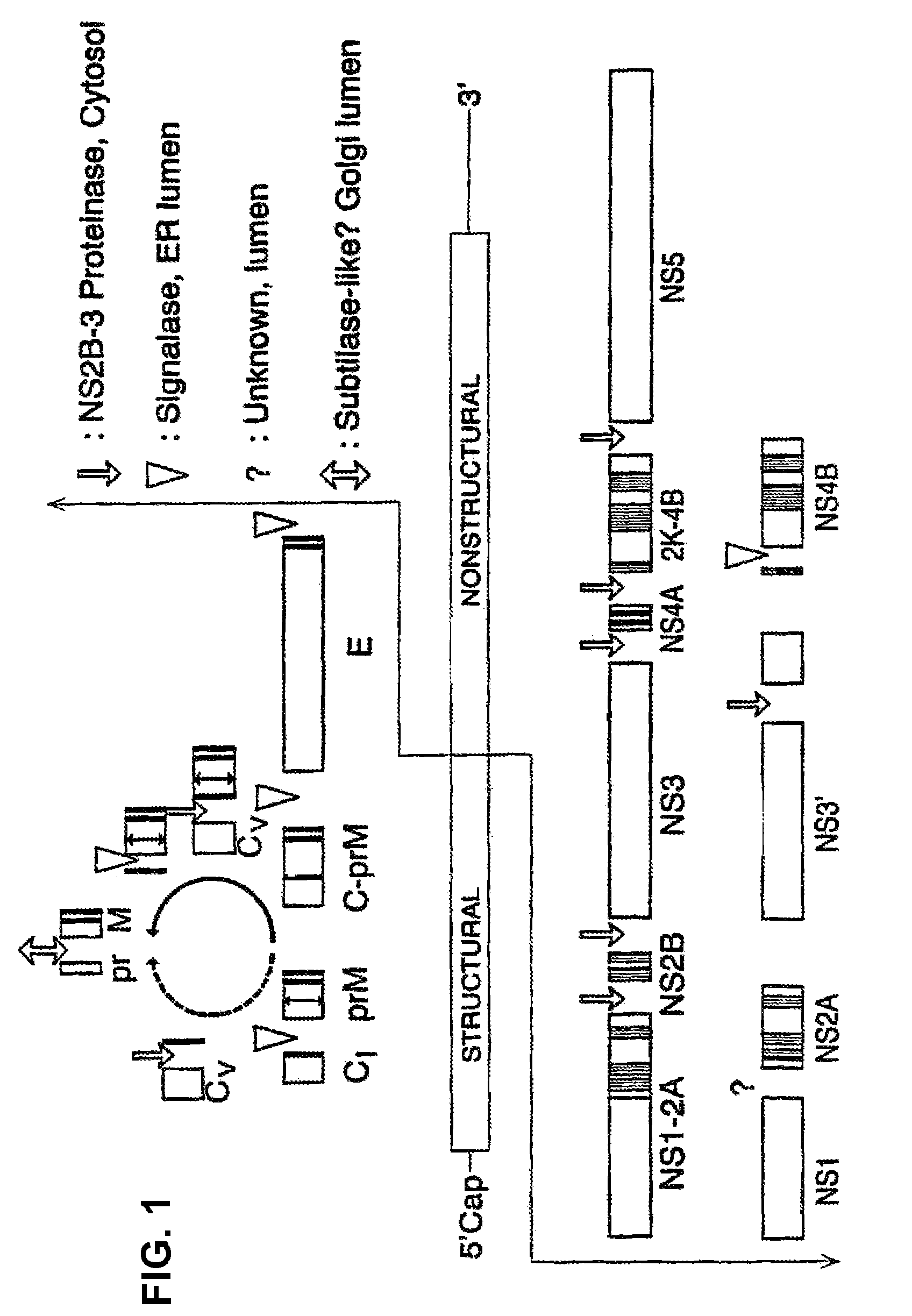
Flavivirus detection methods employing recombinant antigens comprising a Japanese encephalitis (JEV) signal sequence
授权日
2009-04-21
公开(公告)号
US7521177
申请日
2006-06-14
公开(公告)日
2009-04-21
当前申请(专利权)人
THE GOVERNMENT OF THE UNITED STATES OF AMERICA AS REPRESENTED BY THE SECRETARY OF THE DEPARTMENT OF HEALTH AND HUMAN SERVICES, CENTERS FOR DISEASE CONTROL AND PREVENTION