专利数据库
统计分析
产业报告
专利数据监控
产业人才
行业动态
产业政策法规
维权援助
个人中心
详情
文本
图像
标题
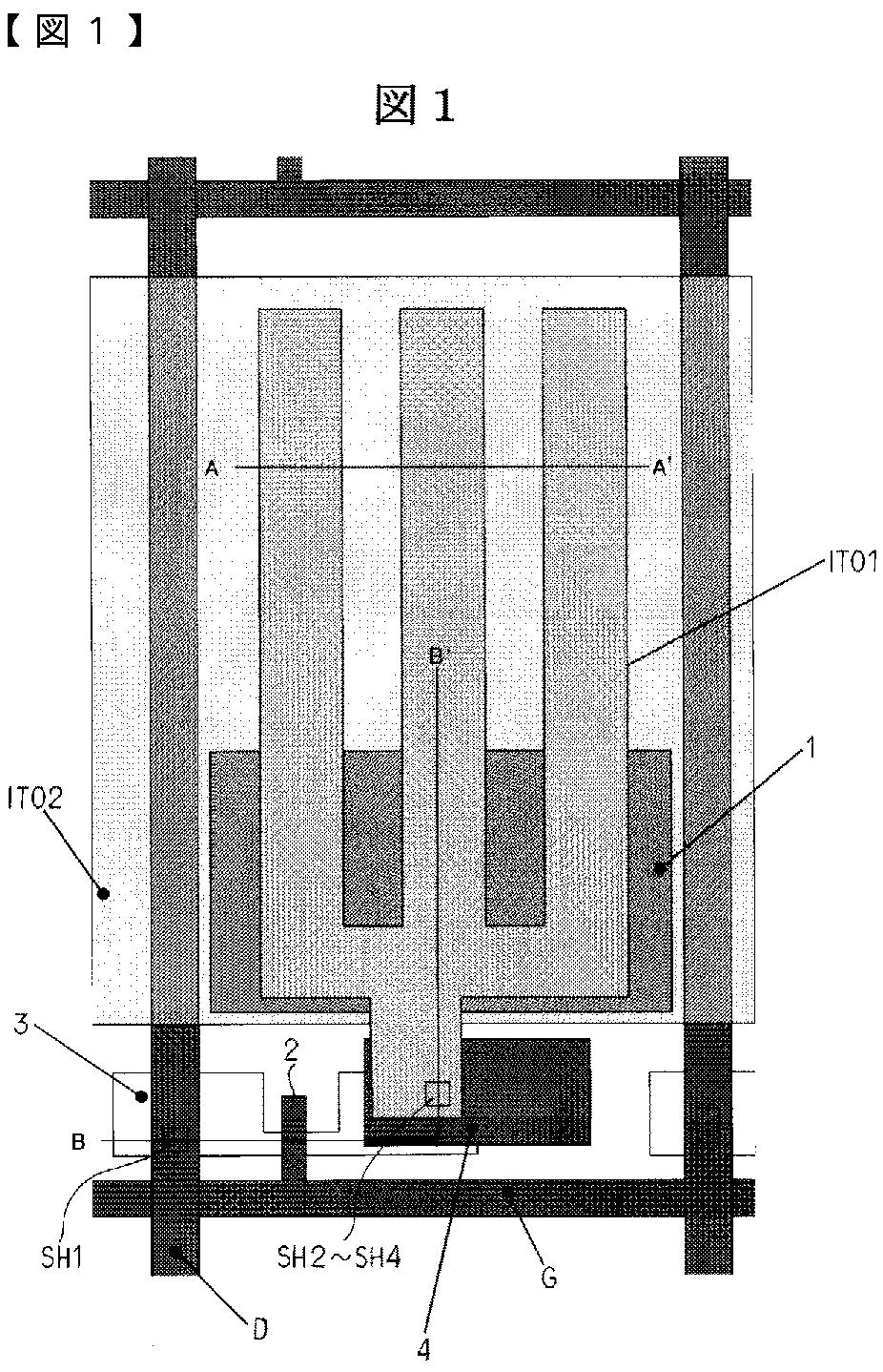
液晶表示装置およびその製造方法
授权日
2013-05-02
公开(公告)号
JP5258156B2
申请日
2005-10-27
公开(公告)日
2013-08-07
当前申请(专利权)人
株式会社ジャパンディスプレイ | パナソニック液晶ディスプレイ株式会社
发明人
園田 大介 | 落合 孝洋 | 木村 泰一 | 槙 正博 | 宮沢 敏夫
简单同族
CN100478755C | CN1955803A | JP2007121587A | JP2007121587A5 | JP5258156B2 | KR100880969B1 | KR1020070045936A | TW200732803A | TWI357529B | US20070097303A1 | US7639331
简单同族成员数量
11
简单同族被引用专利总数
62
诉讼案件数
0
法律状态/事件
授权 | 权利转移
抱歉,您的浏览器不支持PDF预览,请点击链接下载PDF文件