专利数据库
统计分析
产业报告
专利数据监控
产业人才
行业动态
产业政策法规
维权援助
个人中心
详情
文本
图像
标题
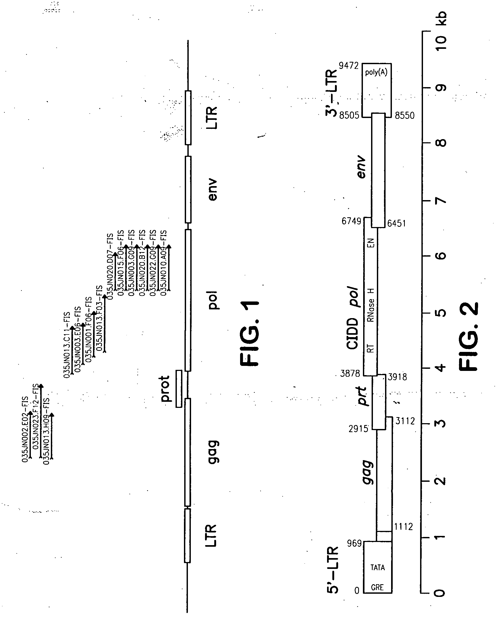
Endogenous retroviruses up-regulated in prostate cancer
授权日
1900-01-01
公开(公告)号
US20100136522A1
申请日
2001-12-07
公开(公告)日
2010-06-03
当前申请(专利权)人
NOVARTIS VACCINES AND DIAGNOSTICS, INC.
发明人
GARCIA, PABLO D. | HARDY, STEPHEN F. | ESCOBEDO, JAIME | WILLIAMS, LEWIS T.
简单同族
AU2002027365A1 | CA2430379A1 | EP1415005A2 | EP1415005B1 | EP2336368A1 | EP2339035A1 | ES2397627T3 | JP2004535765A | JP2008212152A | JP2012125260A | JP2013165722A | US20100136522A1 | US20110020352A1 | US7776523 | WO2002046477A2 | WO2002046477A3
简单同族成员数量
16
简单同族被引用专利总数
97
诉讼案件数
0
法律状态/事件
未缴年费 | 权利转移
抱歉,您的浏览器不支持PDF预览,请点击链接下载PDF文件