专利数据库
统计分析
产业报告
专利数据监控
产业人才
行业动态
产业政策法规
维权援助
个人中心
详情
文本
图像
标题
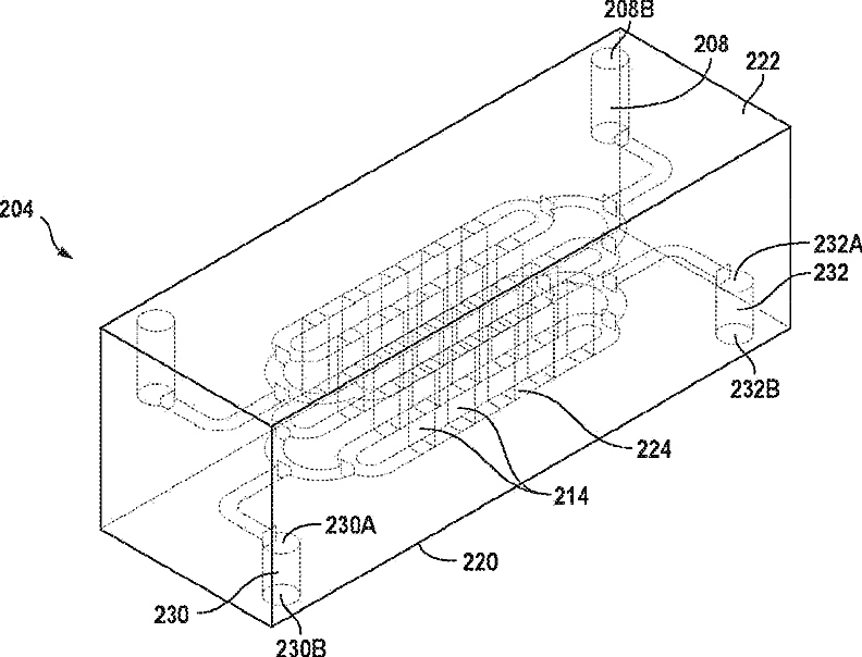
Device for Filtration of Fluids Therethrough and Accompanying Method
授权日
1900-01-01
公开(公告)号
US20120149021A1
申请日
2010-01-15
公开(公告)日
2012-06-14
当前申请(专利权)人
THE CHARLES STARK DRAPER LABORATORY | CHILDREN'S MEDICAL CENTER CORPORATION
发明人
YUNG, CHONG WING | INGBER, DONALD E. | FIERING, JASON O. | VARGHESE, MATHEW
简单同族
US20120149021A1 | US9156037 | WO2010123594A2 | WO2010123594A3 | WO2010123594A9
简单同族成员数量
5
简单同族被引用专利总数
116
诉讼案件数
0
法律状态/事件
授权 | 权利转移
抱歉,您的浏览器不支持PDF预览,请点击链接下载PDF文件