专利数据库
统计分析
产业报告
专利数据监控
产业人才
行业动态
产业政策法规
维权援助
个人中心
详情
文本
图像
标题
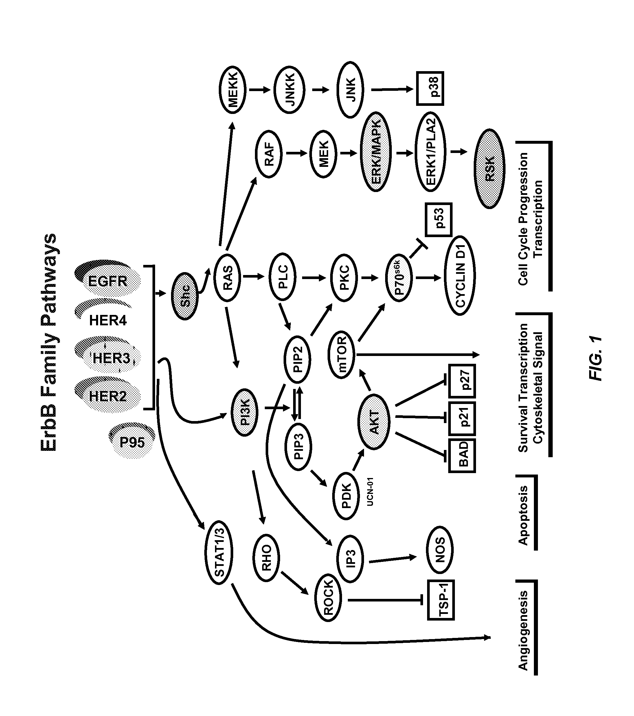
Drug selection for breast cancer therapy using antibody-based arrays
授权日
2012-04-24
公开(公告)号
US8163499
申请日
2009-07-28
公开(公告)日
2012-04-24
当前申请(专利权)人
SOCIÉTÉ DES PRODUITS NESTLÉ S.A.
发明人
SINGH, SHARAT | HARVEY, JEANNE | KIM, PHILLIP | LIU, XINJUN | LIU, LIMIN | BARHAM, ROBERT | NERI, BRUCE
简单同族
AU2009219437A1 | AU2009219437B2 | CA2716826A1 | CA2716826C | CA2923248A1 | CN102016581A | CN102016581B | CN103399144A | CN103399144B | DK2250498T3 | DK2602623T3 | EP2250498A1 | EP2250498B1 | EP2602623A2 | EP2602623A3 | EP2602623B1 | EP2618146A2 | EP2618146A3 | EP2618146B1 | ES2398618T3 | ES2545760T3 | ES2553390T3 | HK1182441A | HK1182441A1 | HK1185414A | HK1185414A1 | IL207637A | IL207637D0 | IL222872A | IL222872D0 | IL225241A | JP2011514522A | JP2011514522A5 | JP2013174616A | JP5414701B2 | JP5852047B2 | MX2010009140A | MX304189B | NZ587420A | NZ587420B | NZ600339A | NZ600339B | NZ617520A | NZ617520B | US10436786 | US20100167945A1 | US20130045880A1 | US20140349865A1 | US20160123984A1 | US8163499 | US8609349 | US9274116 | WO2009108637A1
简单同族成员数量
53
简单同族被引用专利总数
165
诉讼案件数
0
法律状态/事件
授权 | 质押 | 权利转移
抱歉,您的浏览器不支持PDF预览,请点击链接下载PDF文件