专利数据库
统计分析
产业报告
专利数据监控
产业人才
行业动态
产业政策法规
维权援助
个人中心
详情
文本
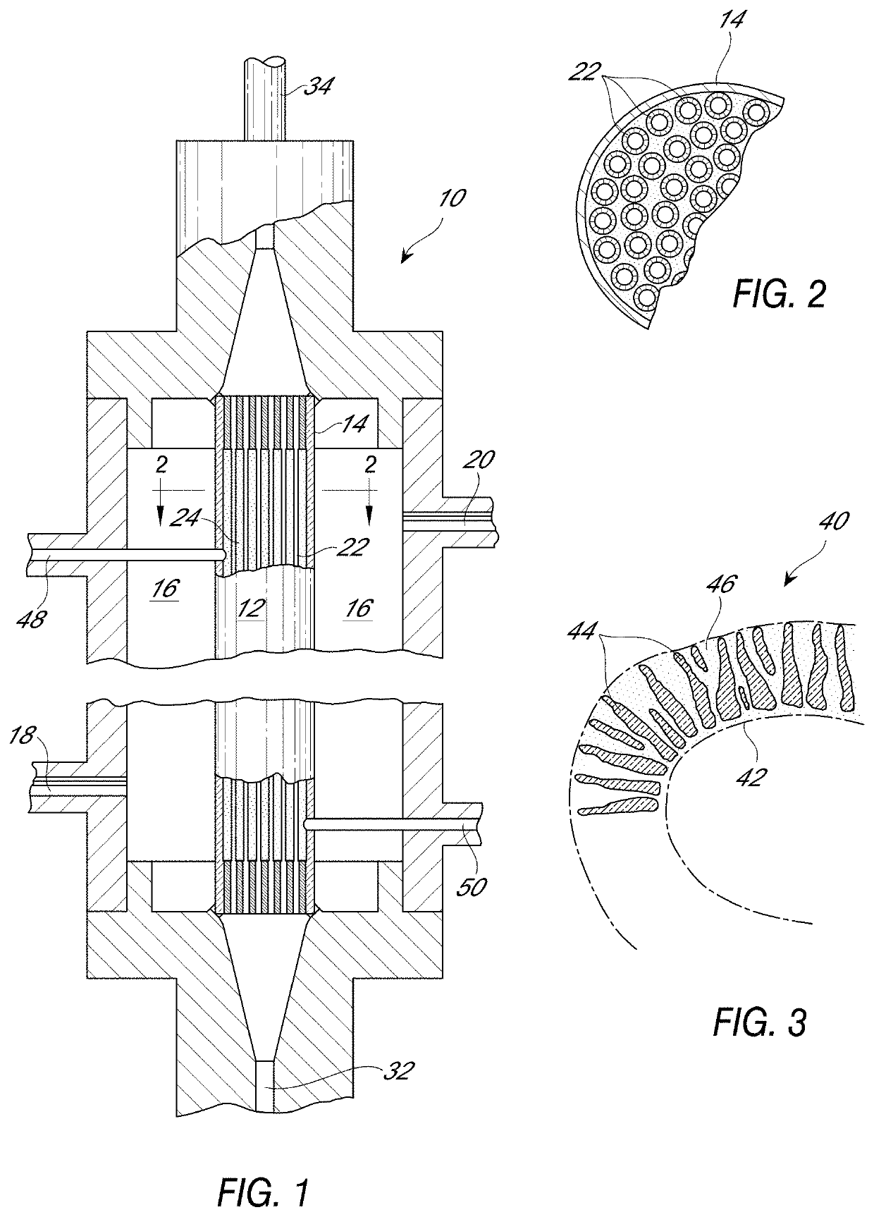
图像
标题
Affinity capture of circulating biomarkers
授权日
1900-01-01
公开(公告)号
US20200103414A1
申请日
2019-05-17
公开(公告)日
2020-04-02
当前申请(专利权)人
AETHLON MEDICAL, INC.
发明人
DUFFIN, R. PAUL | JOYCE, JAMES | TULLIS, RICHARD H.
简单同族
US20120164628A1 | US20150024475A1 | US20160161502A1 | US20180231569A1 | US20200103414A1 | WO2010065765A2 | WO2010065765A3
简单同族成员数量
7
简单同族被引用专利总数
84
诉讼案件数
0
法律状态/事件
公开 | 权利转移
抱歉,您的浏览器不支持PDF预览,请点击链接下载PDF文件